Как устранить засор в унитазе — инструкция и практические советы

Как устранить засор в унитазе
Возникновение засора в унитазе является довольно распространенной проблемой. С ней можно столкнуться и в городской квартире, и в загородном доме и на даче, оборудованной системой слива канализационных стоков. Проблема эта требует обычно быстрого решения. Если вы будете ждать неторопливого сантехника, то масштабы разлива фекальных вод могут привести к очередному ремонту и крупным бюджетным тратам. Между тем решение проблемы как устранить засор в унитазе является доступной даже для обычного человека. Для этого не требуется особых технологических навыков, а достаточно минимальных знаний и присутствия в жоме доступных инструментов, которые продаются в каждом хозяйственном магазине.
Что засоряет наши унитазы
Для того, чтобы освоить технологию очистки унитаза и прилегающих к нему канализационных труб, прежде всего необходимо ознакомиться с его конструкцией.
Унитаз представляет собой санитарное устройство, внутри которого имеется приемник сточных вод, переходящий в изогнутую трубу, выход которой подсоединяется к канализационной системы. Изгиб труб в унитазе предназначен для создания водяного затвора, который предназначен для предотвращения проникновения неприятных канализационных запахов в квартиру.

Образец засора в унитазе
Имеет в этот изгиб, как правило, попадают и застревают различные крупные нерастворимые в воде предметы. Это могут быть обрывки плотной бумаги, тряпки и другая ветошь, пакеты и полиэтилена и так далее. В основном такие штуки попадают в ваш унитаз из-за действий ваших же домочадцев, но в отдельном случае, в многоквартирных домах, такие предметы могут попадать в ваш участок канализационной системы из-за деятельности ваших верхних соседей.
Способы очистки унитазов
В общем случае способы очистки унитазов совпадают с аналогичными действия по устранению засоров в других санитарных устройствах. Условно их можно разделить на две больших группы:
- Механические способы – заключаются в разрушении или извлечении предмета засора механическими твердыми устройствами.
- Химические способы – заключаются в разрушении, растворении предметов засора агрессивными химическими жидкостями.
Химический способ устранения засора в унитазе
Это наиболее простой способ устранения засоров. Для того, чтобы его провести необходимо приобрести в хозяйственных магазинах специальную жидкость или порошок, которые засыпаются или заливаются непосредственно в слив унитаза. Порошок или жидкость создают агрессивный раствор, на щелочной или кислотной основе, который растворяет все преграды, попадающиеся на его пути.
Но к таким способам нужно относиться с определенной осторожностью. При применении таких агрессивных растворов всегда существует вероятность повреждения как самого сантехнического оборудования, так и прилегающих к нему канализационных трубопроводов. Так что пред использованием таких веществ внимательно ознакомьтесь с их составом и с инструкцией по применению и соотнесите полученные знания с составом материалов, которые используются в вашей канализационной системе.

Прочистка унитаза содой — простой способ
Существенным недостатком использования химически агрессивных жидкостей является их неспособность бороться с некоторыми видами засорений, например с застреванием твердых предметов.
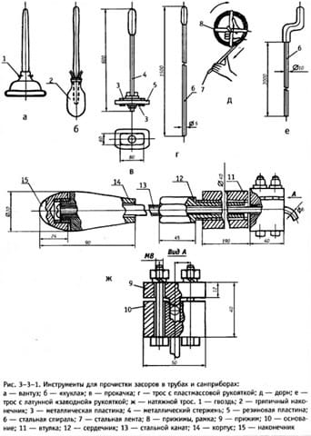
Механические способы прочистки унитазов – вантуз
Вантуз — это очень популярный сантехнический инструмент, который должен присутствовать в каждом доме. Его конструкция чрезвычайно проста – резиновая полусфера, размещенная на крепежной ручке.
Работа с таким инструментом чрезвычайно проста: размещаете резиновую полусферу над место слива и резкими нажатиями проталкиваете воду вглубь стока. Давление воды передается на место засора, разрушает его или проталкивает вглубь канализационной системы вплоть до магистрального канализационного стояка.

Прочистка унитаза с помощью вантуза
Используем подручные инструменты для экстренной прочистки
В экстренных ситуациях при отсутствии вантуза можно воспользоваться и подручными устройства. Для этого возьмите пластиковую бутылку подходящего размера, срежьте с нее дно и опустите эту конструкцию в сливное отверстие. Также как и вантузом – делайте резкие толчки, которые должны разрушить засор в канализации или в изгибе внутренней трубы унитаза.
Также засор в унитазе или в прилегающей трубе можно и просто вылив в него ведро воды, нагретой для горячей температуры. Будьте осторожны. Во-первых, таким кипятком можно обжечь себя, а во-вторых от чрезмерно горячей воды может треснуть фаянс унитаза. Поэтому лучше сначала вылить в унитаз небольшое количество горячей воды, чтобы его поверхность прогрелась. Вообще нагрев унитаза в месте изгиба трубы феном также может помочь в проталкивании засора в сторону магистрального стояка.
Химическую очищающую жидкость можно изготовить и самостоятельно. Для этого найдите половину пачки обычной бытовой соды. Растворите ее в воде и вылейте в унитаз. Такой щелочной раствор прекрасно помогает для устранения некоторых видов засорений.
Используем сантехнический трос
Отличным прибором для устранения засоров в унитазе и в канализации является сантехнический трос. Он позволяет не только разрушать засор или проталкивать его источник в сторону магистрального косяка, но и извлекать крупные предметы (например, тряпки) по недоразумению попавшие в канализационную систему.

Сантехнический трос для прочистки унитаза — фото
Сантехнический трос оборудован рукояткой Г-образной формы с одной стороны и острой насадкой или спиралью с другой стороны. Спиральная насадка может использоваться как своеобразный крючок, которым извлекается предмета, закупоривший канализацию.

Схема прочистки унитаза с помощью сантехнического троса
Порядок работы с сантехническим тросом очень простой:
Опустите наконечник троса в сливное отверстие унитаза или в сливное отверстие раковины или ванной. Для удобства работы в раковине можно снять решетку сливного отверстия, она держится всего на одном болте. Также конец троса можно вставлять непосредственно в канализационную трубу, отсоединив от раковины сифон, который чистится и промывается под проточной водой.
Удерживая одной рукой трос – заправьте его наконечник как можно глубже. После чего, вращая Г-образную ручку проталкивайте наконечник троса ближе к месту засора. Заятрявший предмет можно либо вытолкнуть в магистральный стояк, либо извлечь, зацепив его спиральной насадкой.
Прочищаем унитаз самодельной прокачкой
Эффективно бороться с засорами в унитазе и в канализационных трубах помогает и самодельный инструмент, называемый прокачкой.

Прочищаем унитаз самодельной прокачкой
Он изготавливается следующим способом:
- Найдите стальной стержень и на одном его конце нарежьте резьбу,
- Выпилите из стали и из резины две пластины, в их центре проделайте отверстие.
- Наверните на наконечник стержня гайку, затем закрепите пластины и зафиксируйте их еще одной гайкой.
- На противоположном конце стержня сделайте ручку для удобства использования. Ее можно сформировать, просто обмотав конец изолентой.
Изготовленным инструментом можно эффективно устранить засоры. Разместите пластины в сливном отверстии унитаза и резкими толчками, аналогично использованию вантуза протолкните массу воды внутрь канализационных труб.
Засоры унитаза в многоквартирном доме
Если с устранением засора унитаза в многоквартирном доме все достаточно просто, так как вы имеет доступ ко всей канализационной системе, от унитаза до септика, то устранение засоров в многоквартирных домах может вызвать определенные проблемы.
Вследствие хаотичного перемещения канализационных стоков предмета засора, будь то тряпка или полиэтиленовый пакет может попасть в вашу систему и с верхних этажей. Для того избежать таких проблем – на стыке канализационной системы вашей квартиры и магистрального стояка необходимо разместить обратный клапан.
Устраняем засор раборкой гофры
При засорении унитаза может возникнуть и такая ситуация, когда вам придется отсоединять приемную трубу канализационной системы от унитаза. При использовании такого способа вы сможете не только эффективно прочистить засор, который может образоваться в изгибе унитаза, но и получить прямой доступ к трубопроводам канализации. В этом случае сантехнический трос может направляться непосредственно в трубу, что облегчит работу по устранению неисправностей. Однако выполнять такую работу нужно с осторожностью и с предупреждением соседей, чтобы обеспечить отсутствие поступления новой порции сточных вод.
Проводим профилактические работы
Для того, чтобы избежать возникновения экстренных неприятностей – при эксплуатации унитазов следует соблюдать определенные правила. Помните, что унитаз не предназначен для сброса туда крупногабаритных и нерастворимых в воде предметов. Даже небольшая тряпка, попавшая в сток унитаза может стать якорем для более мелких предметов и образовать солидный засор.
С вниманием относитесь и к выливаемым в унитаз жидкостям. Часть из них может при контакте с холодными канализационными стоками образовывать нерастворимые соединения и закупоривать трубопроводы.
Для предотвращения засорения следует проводить регулярную прочистку очистку унитазов с помощью специальных чистящих средств.
