Самодельная металлическая печь для бани — инструкция по созданию
В настоящий момент свою баню хозяева могут укомплектовать самыми разными конструкциями печей, но самыми популярными являются дровяные металлические конструкции — печки-каменки. У таких печей есть масса преимуществ:

Самодельная металлическая печь для бани
- · греется такая печка очень быстро — приблизительно через 1,5–2 часа уже можно переходить к банным процедурам;
- · стоимость производства — минимальная;
- · срок службы — от 5 до 25 лет в зависимости от качества сварки и толщины металла;
- · при соблюдении технологии производства отсутствует опасность задымления помещения, а также взрыва.
Несмотря на всю простоту печей-каменок, стоят они отнюдь не дешево. Но если есть навыки в сварном деле, то вполне можно изготовить простейшую конструкцию самостоятельно. При этом ее можно даже оснастить баком для подогрева воды.
Из чего лучше делать металлическую печь для бани
Для самостоятельного изготовления металлической печки-каменки нужно использовать черный металл толщиной не менее 5 мм (срок службы приблизительно 5–7 лет). Ведущие производители предлагают модели из стали толщиной около 10 мм для топочных камер и чуть менее — для бункеров с камнями и для баков с водой.
Металлическую печь можно сделать с квадратным или прямоугольным сечением из листового металла, но это подразумевает лишний сварочный шов и непростую операцию по гибке металла. Так что домашние умельцы чаще всего предпочитают использовать уже готовые трубы (любого сечения) или даже обычные металлические бочки, если удается обнаружить емкости с подходящими габаритами и толщиной стенок.
Общая схема устройства самодельной печи-каменки
Металлическая печь для бани обычно включает три основных отделения (снизу вверх):
- · топливную камеру (топливник);
- · бункер с камнями;
- · бак с водой.

Схема металлической печи
Стоит рассмотреть каждый элемент более подробно.
Топливная камера. Здесь будет происходить процесс горения, для чего необходимы дверца для загрузки дров и отверстие для подачи воздуха — поддувало. Также необходимо удалять золу, чтобы не приходилось каждый раз выгребать все, включая и дрова, из топливника. Делается это через зольник — специальную решетку.
Из топливной камеры жар от самодельной печки будет подниматься в бункер с камнями. Для обеспечения оптимального теплообмена, камни нужно уложить на решетку, которая соединит топливник и каменный бункер. Такие бункеры бывают закрытыми и открытыми. В нашем случае он будет закрытым. Ну, а чтобы менять камни и плескать на них воду, мы сделаем специальную дверцу сбоку нашей печки (90° от дверцы для загрузки дров).
Дальше жар будет подниматься к баку с водой. Максимально эффективный вариант распределения этого жара — проведение его через дымоход. Он же будет отвечать за отведение газов — продуктов горения. Заливать воду в бак можно через верх, а вот чтобы сделать слив теплой воды удобным, в нижней части бака с водой стоит приварить кран.
Вот, собственно, краткое устройство самодельной металлической печи для бани. Можно переходить к процессу изготовления.

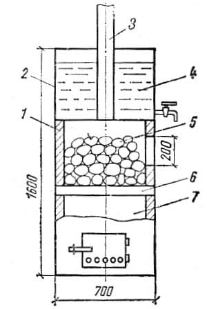
Чертеж металлической печи
Инструкция по изготовлению печи-каменки из металлической трубы
Для создания в кустарных условиях металлической банной печки с диаметром 700 мм и высотой (вместе с баком) около 1600 мм нам будут нужны:
- · стальной лист толщиной более 10 мм (габаритами не менее 2,2×1 метр);
- · труба металлическая длиной 1600 мм с толщиной стенок от 7 до 10 мм;
- · труба для дымохода (диаметр произвольный от 100 мм, толщина стенок — около 5 мм);
- · металлический прут толщиной около 10 мм;
- · колосниковая решетка (продается в строительных магазинах, должна быть стальной или чугунной);
- · петли 8 штук и щеколды 3 штуки;
- · кран с вентилем.
В работе минимально потребуются следующие инструменты:
- · пила-болгарка;
- · сварочный аппарат;
- · ножницы по металлу;
- · измерительный инструмент.
Поэтапный план работ
1. Разрезаем трубу на два отрезка: 0,9 м и 0,7 м.
2. В нижней части трубы (под будущей топкой, с отступом от «дна» приблизительно на 7–10 см. Можно сделать поддувало и у самого дна, тогда будет проще убирать золу — нужно будет лишь подставить подходящую металлическую емкость под зольное отверстие) делаем прямоугольное отверстие 20×5 см — это будущее поддувало. Работать нужно аккуратно, чтобы впоследствии использовать полученный при вырезании кусочек в качестве дверцы. Выше поддувала вырезаем отверстие для загрузки топлива, также стараясь не повредить металл.
3. Приварив снаружи к трубе петли и ушки для защелок, а на сами дверцы — защелки, устанавливаем дверцы для поддувала и для загрузочной камеры.
4. Вырезаем из металлического листа круг диаметром 0,7 метра, а в его середине — отверстие размером с приобретенную колосниковую решетку. Если ее приобрести не удалось, можно соорудить ее самостоятельно из прочного стального прута. Полученный металлический круг привариваем внутри трубы чуть выше поддувала. Сооружение топки можно считать законченным.
5. Делаем сбоку (на 90° от загрузочной дверцы и поддувала) вырез для поливания камней. По вышеописанной технологии устанавливаем дверцу.
6. Теперь нужно соорудить площадку, на которую будут укладываться камни. Ее мы изготовим из металлических прутьев. Размеры ячейки берутся с учетом размеров камней, которые мы планируем засыпать в каменку.
7. Теперь можно засыпать камни. После этого вырезаем из металлического листа круг диаметром 0,7 метра. В нем делаем отверстие под дымоход, которое должно располагаться ближе к дальней стенке нашей печки. Привариваем трубу, после чего привариваем сверху нашего бункера для камней полученный круг с дымоходом. Можно переходить к изготовлению бака для воды.
8. Привариваем к нашему длинному куску большой трубы кусок длиной 0,7 метра.
9. Делаем в нашем баке для воды отверстие под кран и закрепляем его при помощи сварки.
10. Вырезаем из стального листа круг диаметром 0,7 метра, разрезаем его на две неравные части. В большей делаем отверстие под дымоход. Прилаживаем эту часть поверх всей конструкции, пропустив дымоход через отверстие. Завариваем отверстие вокруг дымохода.
11. Осталось только закрепить меньший кусок от стального круга при помощи петель — через этот люк будет заливаться вода. Все, наша самодельная металлическая печь-каменка готова!

Печь с баком для воды
Резюмируем
Имея навыки резьбы по металлу и сварки можно по довольно простому чертежу изготовить печку для бани своими руками. Правда, это потребует некоторых временных и материальных расходов, но зато экономия будет очень существенной. А главное, такая печь будет работать ничуть не хуже, чем покупная.
