Самостоятельное устройство теплового насоса Френетта (фрикционный обогреватель)
Желая сократить расходы на отопление своего жилища, немало домовладельцев сумели сделать тепловой насос Френетта своими руками. Отдельные энтузиасты, как и оптимистичные создатели рекламных роликов, уверяют, что с помощью улучшенной модели этого агрегата можно достичь КПД в 700, а то и в 1000%. Скептики припоминают основные положения законов термодинамики и сомневаются. Тем не менее, изобретение Френетта, запатентованное почти четыре десятилетия назад и неоднократно переделанное, успешно функционирует как в виде самодельных устройств, так и в качестве солидных промышленных моделей.
Принцип работы и устройство агрегата
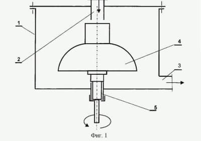
О том, что интенсивное трение приводит к нагреванию поверхностей или сред, хорошо знает любой школьник. Евгений Френетт создал удивительно простой отопительный прибор, в котором применяется это физическое явление. Изобретатель использовал два цилиндра разного размера. Меньший по диаметру цилиндр был помещен в полый цилиндр большего диаметра. Между наружной поверхностью первого и внутренней стенкой второго цилиндра было залито масло. Малый цилиндр с одной стороны был подключен к электромотору, а с другой стороны к нему приделали крыльчатку вентилятора.

Это схема теплового насоса, который был запатентован Евгением Френеттом еще в 1977 году. Позднее модель многократно перерабатывалась и улучшалась
При интенсивном вращении внутреннего цилиндра масло, залитое в устройство, нагревалось до достаточно высоких температур. Крыльчатка вентилятора позволяла быстро распространять тепло в пространстве помещения. Для удобства использования рабочие цилиндры помещали в корпус с отверстиями для воздуха. Оптимизировать работу устройства можно было с помощью термостата.
Несмотря на похожее название, устройство Френетта и его аналоги не имеют никакого отношения к тепловому насосу, в котором на основании обратного принципа Карно низкопотенциальная энергия окружающей среды (воды, земли, воздуха) преобразуется в тепловую энергию с высоким потенциалом. Объединяет их только тот факт, что обе системы успешно используются для обогрева жилищ.
Вариации на «Френеттовскую» тему
И сам изобретатель, и его последователи за прошедшие годы неоднократно улучшали тепловой насос френетта. Интересна модель, в которой барабан размещен горизонтально, а по центру системы расположен вал, часть которого размещена снаружи. Такая конструкция должна быть выполнена очень тщательно, чтобы не допустить просачивания жидкости в местах соединения корпуса с валом.

В этой модели теплового насоса Френетта движущийся вал выведен наружу, а ось вращения перемещена из вертикального положения в горизонтальное
В этом случае вентилятор отсутствует, а теплоноситель из теплового насоса поступает в теплообменник, роль которого может выполнить обычный радиатор отопления или даже система центрального отопления дома.

В этой модели насоса Френетта используются одновременно два барабана, а теплоноситель перемещается по замкнутой системе через теплообменник или радиатор
Позднее был разработан проект теплового насоса Френетта, в котором для разогрева теплоносителя использовалось два барабана. Система была дополнена крыльчаткой. Под воздействием центробежных сил разогретое масло выбрасывалось из отверстий этой крыльчатки. В результате жидкость попадала в небольшой зазор между ротором и корпусом устройства, что позволяло использовать такой насос с очень высокой эффективностью.

Использование высокопрочной крыльчатки в тепловом насосе Френетта позволяет улучшить производительность устройства. Теплоноситель выходит через узкие отверстия, расположенные по краям
Наиболее оригинальным вариантом можно считать версию хабаровских ученых Назыровой Натальи Ивановны, Сярг Александра Васильевича и Леонова Михаила Павловича. Рабочая часть этого устройства внешне напоминает гриб. В качестве рабочей жидкости используется вода, которая достигает кипения и превращается в очень горячий пар. Под действием реактивной силы пара вода движется по каналам устройства со скоростью 135 м/мин, что позволяет обходиться без внешнего источника питания.

Примерная схема универсальной генерирующей установки, разработанной в Хабаровске: 1 — емкость; 2 — входной патрубок; 3 — выходной патрубок; 4 — водонагреватель; 5 — подшипниковый вал
Обратите внимание! Не стоит пытаться повторить опыт ученых из Хабаровска и создавать подобный универсальный генератор для домашнего использования. Эта конструкция была разработана исключительно для промышленного применения.
Разобравшись в принципах устройства насоса Френетта, любой изобретатель может внести в его конструкцию собственные коррективы, чтобы улучшить работу прибора или упростить его монтаж.
Как самостоятельно изготовить такое устройство?
Самым практичным для обогрева жилищ считается модель теплового насоса Френетта, в которой отсутствует вентилятор и внутренний цилиндр. Вместо этого используется множество металлических дисков, которые вращаются внутри прибора. Роль теплоносителя выполняет масло, которое поступает в радиатор, охлаждается и затем возвращается в систему.
Изготовить тепловой насос по принципу Евгения Френетта в домашних условиях не сложно. Для этого понадобится:
- металлический цилиндр;
- стальные диски;
- гайки;
- стальной стержень;
- небольшой электромотор;
- трубы;
- радиатор.
Диаметр стальных дисков должен быть немного меньше диаметра цилиндра, чтобы между стенками корпуса и вращающейся частью был небольшой зазор. Количество дисков и гаек зависит от размеров конструкции. Диски последовательно нанизывают на стальной стержень, разделяя их гайками. Обычно используются гайки, высота которых составляет 6 мм. Цилиндр следует заполнить дисками до верха. На стальной стержень наносят наружную резьбу по всей его длине. В корпусе делают два отверстия для теплоносителя. Через верхнее отверстие разогретое масло будет поступать в радиатор, а снизу оно будет возвращаться в систему для дальнейшего нагрева.
В качестве теплоносителя разработчики устройства рекомендуют использовать жидкое масло, а не воду, поскольку температура кипения такого масла в несколько раз выше. При быстром нагреве вода может превратиться в пар и в системе возникнет избыточное давление, что может привести к повреждению конструкции.

Это примерная схема конструкции теплового насоса Френетта, которую не сложно реализовать с помощью подручных средств и доступных материалов
Для монтажа стержня с резьбой также понадобится подшипник. Что касается электродвигателя, подойдет любая модель, обеспечивающая достаточное количество оборотов, например, рабочий двигатель от старого вентилятора.
Процесс сборки устройства происходит следующим образом:
- В корпусе проделывают два отверстия для труб отопления.
- По центру корпуса устанавливают стержень с резьбой.
- На резьбу навинчивают гайку, ставят диск, навинчивают следующую гайку и т. д.
- Монтаж дисков продолжают до заполнения корпуса.
- В систему заливают жидкое масло, например, хлопковое.
- Корпус закрывают и фиксируют стержень.
- К отверстиям подводят трубы радиатора отопления.
- К центральному стержню присоединяют электродвигатель, который обеспечивает вращение.
- Включают прибор в сеть и проверяют его работу.
Чтобы улучшить работу теплового насоса этого типа и сделать его использование более удобным и экономичным, рекомендуется применить систему автоматического включения-отключения для двигателя. Управляется такая система с помощью термодатчика, который крепят прямо на корпус устройства.
Где такой насос можно применить?
Самый простой способ использовать это устройство — превратить его в комнатный обогреватель. Прекрасно подойдет такой тепловой насос и для отопления гаража, бани или другого небольшого помещения. А вот в большом доме народные умельцы предлагают использовать насос Френетта в комплексе с системой «теплый пол».
В этом случае теплоноситель будет циркулировать не по радиатору, а по пластиковым трубам, уложенным в стяжку пола. Регулировать работу этой системы предполагается с помощью термодатчика, который устанавливается на корпусе насоса, а не монтируется в стяжке, как это делается при монтаже традиционного водяного теплого пола.
