Устройство сливного бачка унитаза: как работает сливная конструкция и из чего она состоит?
Невозможно представить комфортное жилье без благоустроенной туалетной комнаты, центральное место в которой занимает унитаз. Значимой частью этого привычного для нас предмета является сливной бачок. Вроде бы абсолютно неприглядная емкость, которую, кстати, не всегда видно – иногда она вмонтирована в стену. Однако, как только сливной механизм для унитаза приходит в негодность, мы сразу понимаем всю важность этого предмета — в доме наступает настоящая катастрофа.
Принцип работы механического смыва
Унитаз без продуманной системы слива функционально превратился бы в обычный горшок (ну или ночную вазу), который рано или поздно пришлось бы опорожнять. Смыв водопроводной водой освобождает нас от лишних действий и делает процедуру посещения туалета достаточно комфортной.

Одна из устаревших моделей сливного бачка отлично демонстрирует принцип работы: давление на рычаг — спуск воды — автоматическое открывание наливного клапана — набор воды — закрывание клапана
Вода из труб по гибкому шлангу поступает в сливной бачок, который оборудован двумя механизмами – наливным и сливным. Наливное оборудование позволяет воде накапливаться в резервуаре, но лишь до определенного уровня, затем клапан подачи закрывается.
Сливная арматура начинает функционировать, когда мы нажимаем на кнопку (дергаем за цепочку или рычаг). Заранее определенная порция воды с высокой скоростью выливается в чашу унитаза, смывая все ее содержимое в канализационную трубу. Как видите, принцип работы сливного бачка прост и основывается на поочередном действии запорной арматуры.

Не удивительно, что маленькие дети не могут ответить на вопрос: что такое сливной бачок? Они даже не подозревают, что это устройство скрывается за стеной над унитазом
Итак, постараемся разобраться в конструкции, которая находится внутри бачка – она как раз относится к тем вещам, на которые в повседневной жизни мы абсолютно не обращаем внимания.
Составляющие сливного бачка
Хорошо зная устройство сливного бачка унитаза, можно быстро отремонтировать его или, по крайней мере, самостоятельно приобрести вышедшие из строя части.
Наливной клапан
Его назначение – регулировать уровень воды в бачке и по мере ее убывания подавать необходимое количество. Когда-то давно придумали элементарный индикатор уровня воды – поплавок, и он оказался настолько удачным изобретением, что до сих пор является незаменимой частью арматуры.
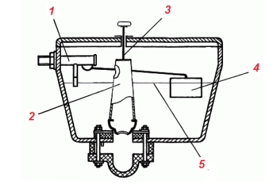
Первоначальное устройство выглядело следующим образом: латунное коромысло, на одном конце имеющее поплавок, на другом – клапан с резиновой прокладкой, перекрывающий воду. Современная конструкция немного видоизменилась, но принцип действия остался тем же. На схеме сливного бачка унитаза хорошо видно взаимодействие всех частей механизма.

Детали конструкции сливного бачка: 1 – наливной клапан; 2 – груша в едином блоке с переливом; 3 – ручка (тяга); 4 – поплавок; 5 – уровень воды
Поплавок стал двигаться вертикально, а не располагаться горизонтально, как раньше. Вода в бачок стала поступать быстрее, так как отверстие открыто полностью, а запорный клапан перекрывает его не постепенно, а целиком, но в самом конце набора. Еще одно отличие – клапан расположен в нижней части, а не в боковой.
Система слива и перелива
Все новейшие модификации произошли от одного первоначального варианта – системы с грушей. Более «древняя» конструкция сливного бачка унитаза была оснащена грушей из мягкой резины, которая герметично закрывала сливное отверстие. Стоило потянуть за рычажок – и вода с шумом устремлялась вниз.

Образец элементарного устройства сливного бачка для унитаза, где наливной механизм оснащен пластиковым поплавком на коромысле, а система слива — традиционной резиновой грушей
Сейчас устройство слива выглядит иначе. Это арматурный узел, связанный с системой налива и перелива. Он начинает функционировать после нажатия на кнопку, находящуюся в крышке. Повсеместная озабоченность экономией воды привела к еще одному нововведению – кнопка состоит из двух частей; выбрав одну из них, можно обеспечить малый либо большой слив.

Арматура для сливного бачка состоит из пластиковых частей и резиновых прокладок. В случае поломки можно приобрести весь комплект или одну из частей в отдельности в магазине сантехники
Сливной механизм совмещен с переливом – страховкой от переполнения бачка. Если случается избыток воды то она не выливается наружу, а уходит прямо в канализацию. По словам специалистов, более качественной является немецкая сливная арматура, за неимением ее – польская, которая, кроме того, стоит намного меньше.
Классификация бачков для унитаза
Существует несколько делений на группы, и в одном из них классификация основана именно на особенностях механизма сливного бачка унитаза.
По виду спускового устройства
Расположений кнопки или рычага может быть два:
- Боковое. Чаще применяется у бачков, которые монтируются не на полочке унитаза, а на стене – на определенной высоте. При данном устройстве воду сливают, дергая за цепочку.
Верхнее. Кнопка, приводящая в действие систему слива, установлена точно посередине крышки бачка.

Кнопка слива бачка, установленного в стене, существует отдельно от него и монтируется прямо над унитазом, являясь образцом современного эстетического подхода
По материалу изготовления
- Чугунные. До сих пор чугун в нашей стране считается чем-то очень практичным, поэтому многие хранят свои раритетные сокровища и не хотят их менять на современные – более удобные и красивые.
- Фаянсовые. Наиболее популярные, так как они являются частью унитаза компакт. Привычные модели, легко монтируемые на полочку унитаза, имеют множество исполнений, отличающихся по форме и цветовой гамме.
Пластиковые. Емкости, встраиваемые в стену и поэтому имеющие не совсем обычную, более плоскую форму.

Среди простенького экономичного санфаянса можно обнаружить настоящие шедевры, выполненные в разнообразных стилях — от кантри до модерна. Правда, стоимость этих изделий начинается от 20 тысяч рублей
По способу установки
- Верхнее крепление. Бачок монтируется высоко на стене, ровно над унитазом, и сообщается с унитазом посредством трубы. Данный способ крепления устарел, тем не менее, в продаже есть несколько моделей такого плана, так как спрос на них не прекращается.
- Монтаж в стене. Современный способ, требующий полной переделки как минимум одной стены, потому что бачок будет скрываться внутри ее. Кажется, что места в туалете становится больше, хотя возведенная стена «крадет» какую-то часть площади.
- Бачок на полочке унитаза. Наиболее распространенная, привычная для всех модель. Хороша тем, что в случае поломки любую неисправность можно быстро отремонтировать.

Унитазы с бачком, подвешенным высоко под потолком, подойдут не для каждого интерьера, но отлично будут смотреться в туалетной комнате, обставленной в ретро стиле

Сливной бачок является неотъемлемой частью унитаза-компакта. Фаянсовая пара популярна благодаря разнообразию бюджетных исполнений: за 4-5 тысяч рублей можно приобрести отличный комплект вместе с арматурой
