Выгребная яма из бетонных колец своими руками — пошаговая технология постройки
В этом уроке мы научимся делать выгребную яму из бетонных колец своими руками и подробнее рассмотрим варианты создания создания выгребной ямы в своем доме. Стоит отметить, что яму из бетонных колец можно сделать различными способами первый это — залить дно бетонным раствором и тем самым создать герметичную конструкцию и второй способ — это создать дно из сыпучих материалов, тем самым сделав систему септика.

Выгребная яма из бетонных колец
Герметичный выгреб из бетонных колец
Выгребная яма из бетонных колец с функцией герметичного выгреба — это безусловный плюс, для почвы и для растений которые растут неподалеку. Но делая герметичный выгреб вы напрямую зависите от приезда ассенизациой машины, которая раз в месяц откачивает жидкость из вашей выгребной ямы. Конечно, если ваша семья состоит всего из нескольких человек и в зимнее или летнее время вы не пользуетесь дачей или загородным домом, тогда вполне акуально строить герметичный выгреб т.к, плата за услуги чистки выгребной ямы сводится к минимуму и обращения к ним производятся весьма редко.
И конечно одной из самых основных преимуществ герметичного выгреба является чистая вода колодца, который расположен на вашем участке. Т.к именно негерметичный выгреб является основным очагом заразы, которая переносится в грунтовых водах из выгребной ямы и может попасть в ваш колодец. Конечно, матерые строители скажут если вы построите выгребную яму за 15-20 метров от колодца, тогда вашей воде не страшны загрязнения, но практика показывает, что эта информация не всегда является достоверной, к тому же есть еще и соседи у которых тоже есть выгребные ямы, а залежи и циркуляцию грунтовых вод анализировать весьма трудная задача.
Подведем итог, если у вас небольшая семья и вы не так часто выбираетесь на природы, то герметичная яма из бетонных колец — это тот выбор, который вам нужен.
Правила обустройства выгребной ямы
- Выгребная яма должна быть расположена на 15-20 метров от колодца.
- Около 10 метров от дачного дома.
- На 4 метра от забора.
- Глубина выгребной ямы должна быть не больше 5 метров.
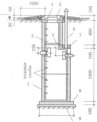
Итак после того, как готова яма нужной для нас глубины наступает момент установки бетонных колец. После того, как бетонные кольца будут опущены наступает момент, когда необходимо заизолировать герметично основание колодца и непосредственно стыки между кольцами, процесс изоляциии можно сделать с помощью бетона или с помощью смолистых смесей, которые можно либо приготовить самому для этого необходимо растопить асбец (на костре) в ведре и залить им швы между кольцами, но заливать будет крайне неудобно без специального насоса, поэтому советуем все же применять цемент.
Яму лучше всего копать около 3х метров глубиной, т.к это позволит полностью выкачивать содержимое с помощью ассенизациой машины.
Далее необходимо накрыть дно поверхность ямы железобетонными плитами чтобы обеспечить безопасный подъезд этой самой машины, для откачки отходов.

Схема ямы из бетонных колец
Выгребная яма с дренажной системой
Выгребная яма с дренажной системой раньше пользовалась огромной популярностью отчасти это связано с тем, что канализация была не в каждом доме и просто напросто ресурсы воды, которые использовала семья в течении года успевали уйти в землю и просто напросто утилизироваться естественным путем смешавшись с грунтовыми водами. Но потребление водных ресурсов растет, а с ним и растут потребности человека, именно поэтому выгребная яма с дренажной системой просто напросто не справляется с большим количеством накопившихся в течении года, а то и нескольких месяцев сливами.
Но стоит отметить, что выгребную яму можно сделать и с дренажной системой засыпав на ее дно сыпучие материалы, и не заливать бетоном. Тогда часть воды уйдет в землю, а при условии что яма заполнится можно будет вызвать ассенизационную машины. В результате этого собирать и выкачивать воду будет дешевле, т.к выкачать придется меньшее количество воды.
Но обратите внимание, что при этом будут загрязняться грунтовые воды и возможен неприятный запах вокруг дома.
Что касается возведения данной конструкции, то работы по сути остаются прежними единственное, что действительно меняется так это подушка которую мы будем делать, на дно она состоит из:
- Слоя песка.
- Слоя щебня.
- И покрытия из термосклееного геотекстиля.

Процесс установки бетонных колец в выгребную яму
На каком варианте выгребной ямы остановиться
Таким образом возникает резонный вопрос, что же лучше выбрать герметичную емкость или дренажную систему. Советуем вам сделать герметичную яму из бетонных колец, так вы позаботитесь о экологии своего приусадебного участва и будете пить чистую воду из вашего колодца, которая не будет подвергаться загрязнениям из грунтовых вод.
